Architectural Specifications:
- Aluminum Alloy: 6063-T5/15,000 PSI
- Wood: Pennsylvania Red Oak, Poplar, Cedar and others
- Minimum wall thickness, supporting members 0.100 inch
- Thick wall sections: 0.300 inch where needed
- 100% thermal breaks at sill, ridge & wall anchoring
- PPG baked enamel, bronze or white, electrostatically applied.
- Five year warranty against pitting, peeling and salt conditions.
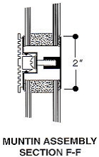
- 7/8" thick insulated panels using 1/8" tempered glass 30" wide
- Glass panel bearing surface 3/8" minimum
- Designed parameters, 25 psf wind load and 40 psf live load
- Deflection, maximum 1/175 of span
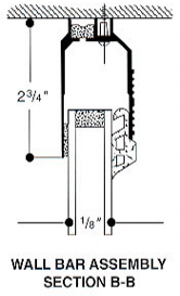
- Neoprene setting pads 80-90 durometer
- Seal 55-65 EPDM or equal per ASTM specification D2000
- Patented variable pitch
